Légrugó 2619V SAF – megbízható megoldás pótkocsikhoz
A Légrugó 2619V SAF a pótkocsi felfüggesztés egyik fontos eleme, amely segít csökkenteni az úthibákból, terhelésből és rezgésekből adódó igénybevételt. Ez a kamion alkatrész különösen hasznos fuvarozóknak, szervizeknek és flották számára, mert javítja a menetkomfortot, a stabilitást és a jármű súlyelosztását. Ha megbízható teherautó alkatrész vagy kamion kiegészítő megoldást keresel a felfüggesztéshez, ez a típus költséghatékony és tartós választás.
Fő előnyök
- Stabilabb futás és jobb terheléselosztás
- Gyorsan reagál a változó terhelésre
- Tartós, mindennapi használatra tervezett kialakítás
- Könnyű beépítés és praktikus cseremegoldás
- Csökkenti a futómű és a rakomány terhelését
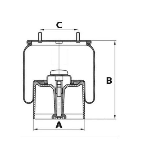
Műszaki adatok
| Termék | Légrugó 2619V SAF |
| Anyag | Erősített gumiból és fém csatlakozóelemekkel |
| Típus | Utángyártott / cserealkatrész |
| A | 240 mm |
| Bmin | 190 mm |
| Bmax | 560 mm |
| C | 150 mm |
| D | 259 mm |
Kompatibilitás és felhasználás
A SAF rendszerű pótkocsikhoz, konténeres és egyéb teherjárműves felhasználásra ajánlott. A pontos illeszkedés érdekében mindig ellenőrizd a méreteket és a meglévő alkatrész cikkszámát.
Használat és csere
Beépítés előtt javasolt a felfüggesztés állapotának ellenőrzése, különösen a csatlakozási pontoknál. A légrugó cseréje akkor indokolt, ha repedés, szivárgás, egyenetlen futás vagy süllyedés tapasztalható. A minőségi kialakításnak köszönhetően a javítás gyors, így a jármű állásideje minimálisra csökkenthető.
Miért érdemes ezt választani?
A Légrugó 2619V SAF ideális választás, ha fontos a megbízható működés, a kedvező ár és a gyors beszerzés egy jól felszerelt kamion alkatrész webshop kínálatából. Raktárról elérhető termékként segít abban, hogy a fuvarozás folyamatos maradjon.
GYIK
Milyen járműhöz jó a Légrugó 2619V SAF?
A SAF rendszerű pótkocsikhoz és egyes konténeres felépítményekhez ajánlott, a pontos méretek ellenőrzésével.
Mikor kell cserélni a légrugót?
Ha szivárgás, repedés, instabil futás vagy süllyedés jelentkezik, célszerű a csere.
Gyári vagy utángyártott megoldás?
Ez egy praktikus cserealkatrész, amely jó ár-érték arányt kínál flottáknak és szervizeknek.
Mit érdemes mellé rendelni?
Javasolt a kapcsolódó felfüggesztés- és rögzítőelemek ellenőrzése, például a szerelőkészletek és tömítések.
Ha további kérdése van a szállítással, garanciával vagy a rendelés menetével kapcsolatban, látogasson el Gyakori Kérdések (GYIK) oldalunkra, ahol részletes válaszokat talál.