Légrugó 2621V SAF – megbízható felfüggesztési megoldás
A Légrugó 2621V SAF ideális választás pótkocsik és teherjárművek felfüggesztéséhez, ha fontos a stabil futás, a terhelés egyenletes elosztása és a rezgések csillapítása. Ez a praktikus kamion alkatrész segít csökkenteni az úthibák okozta terhelést, így hozzájárul a kényelmesebb és biztonságosabb fuvarozáshoz. Különösen hasznos fuvarozók, szervizek és olyan flották számára, ahol a hosszú élettartam és a megbízható működés alapelvárás.
Fő előnyök
- Tartós, kopás- és korrózióálló kialakítás
- Stabil terhelésbiztosítás a lengések csökkentésére
- Egyszerű beépítés a legtöbb SAF rendszerhez
- Megbízható működés intenzív, mindennapi használat mellett is
- Költséghatékony választás karbantartáshoz és cserealkatrészként
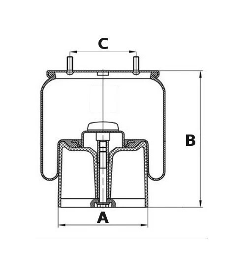
Műszaki adatok
| Terméktípus | Légrugó |
| Kompatibilitás | SAF pótkocsi felfüggesztési rendszerek |
| Bázisméret | 240 mm |
| Bmin / Bmax | 210 mm / 580 mm |
| Méretek | C 150 mm, D 259 mm, E 25 mm, F 73 mm |
| Kivitel | Erős, üzembiztos kivitel, hosszú élettartamra tervezve |
Használat és felhasználási terület
A termék elsősorban pótkocsikhoz, félpótkocsikhoz és SAF rendszerrel szerelt teherjárművekhez ajánlott. Beépítéskor mindig ellenőrizze a pontos méretet és a felfogatási pontokat, hogy a légrugó megfelelően illeszkedjen. Ha cserealkatrészt keres egy megbízható kamion alkatrész webshop kínálatában, ez a modell jó választás lehet mind szervizeléshez, mind megelőző karbantartáshoz.
Felhasználási javaslat
- hosszú távú fuvarozáshoz
- pótkocsi felfüggesztés javításához
- szervizeknek és flottakezelőknek
- olyan helyzetekben, ahol fontos a rezgéscsillapítás és a rakomány stabilitása
Kapcsolódó termékek
Ajánlott kiegészítők: légrugó szerelőkészlet, valamint felfüggesztés alkatrészek a teljes javításhoz.
GYIK – Gyakori kérdések
Kompatibilis a Légrugó 2621V SAF más pótkocsi rendszerekkel is?
A termék elsősorban SAF felfüggesztési rendszerekhez készült, ezért vásárlás előtt érdemes a méreteket és a felfogatást ellenőrizni.
Mikor szükséges a légrugó cseréje?
Ha repedést, levegővesztést, egyenetlen futást vagy túlzott kopást tapasztal, ideje a cserealkatrész beszerzése.
Gyári vagy utángyártott megoldás?
A 2621V SAF kiváló minőségű pótlóalkatrész, amely megbízható alternatíva lehet a karbantartási és javítási munkákhoz.
Válassza a Légrugó 2621V SAF modellt, ha fontos a tartós működés, a biztonságos szállítás és a gyors beszerzés egy megbízható teherautó alkatrész forrásból. Rendeljen most, és erősítse meg járműve felfüggesztését!
Ha további kérdése van a szállítással, garanciával vagy a rendelés menetével kapcsolatban, látogasson el Gyakori Kérdések (GYIK) oldalunkra, ahol részletes válaszokat talál.