Légrugó 2626V SAF – megbízható megoldás pótkocsikhoz és futóművekhez
A Légrugó 2626V SAF kiváló választás, ha tartós és pontosan illeszkedő kamion alkatrész vagy teherautó alkatrész csereelemet keres a futómű és a felépítmény stabil működéséhez. Feladata a terhelés egyenletes elosztása, a rázkódás csökkentése és a menetkomfort javítása, ami különösen fontos fuvarozás, flottahasználat és intenzív mindennapi munkavégzés során.
Fő előnyök
- Tartós kialakítás: ipari környezetre tervezett, hosszú élettartamú megoldás.
- Stabil teherelosztás: segít megőrizni a futómű optimális működését.
- Könnyű csere és szerelhetőség: standard méretek a gyorsabb beépítéshez.
- Gazdaságos választás: csökkentheti a kopást és a karbantartási költségeket.
- Megbízható teljesítmény: jól teljesít nehéz üzemi körülmények között is.
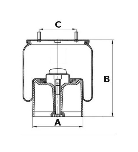
Műszaki jellemzők
| Termék | Légrugó 2626V SAF |
| Gyártási típus | Minőségi utángyártott cserealkatrész |
| Rugóút | Min. 240 mm – max. 260 mm |
| Méretek | C: 150 mm, D: 259 mm, E: 25 mm, F: 73 mm |
| Anyag | Erős, ipari minőségű gumikeverék és fém csatlakozók |
| Funkció | Lengéscsillapítás, teherelosztás, menetkomfort javítása |
Kompatibilitás és felhasználás
A termék SAF futóműves pótkocsikhoz, félpótkocsikhoz és egyéb teherjárműves felépítményekhez ajánlott. Beépítés előtt mindig ellenőrizze a méreteket és a felfogatási pontokat, mert a pontos illeszkedés típusonként eltérhet.
Használat és felszerelés
A légrugó cseréje során fontos a megfelelő nyomásmentesítés, a rögzítési pontok tisztasága és a gyártói előírások betartása. Érdemes szerelővel vagy tapasztalt szervizzel dolgozni, ha a futóműben kopás vagy sérülés is látható.
Miért érdemes ezt választani?
Ez a kamionos eszköz hosszú távon segít megóvni a futóművet, csökkenti a vibrációt, és javítja a jármű üzembiztonságát. Ideális választás fuvarozóknak, szervizeknek és flottakezelőknek, akik megbízható kamion alkatrész webshop kínálatból szeretnének rendelni.
Kapcsolódó termékek
- Légrugó felfogatás és szerelőkészlet
- Futómű gumiperselyek és csillapító elemek
GYIK – Gyakori kérdések
Melyik járműhöz jó a Légrugó 2626V SAF?
A SAF futóműves pótkocsikhoz és hasonló teherjárműves felépítményekhez ajánlott, de a pontos kompatibilitást mindig a méretek alapján érdemes ellenőrizni.
Mikor kell légrugót cserélni?
Ha repedés, levegővesztés, egyenetlen futás vagy csökkent rugózás tapasztalható, a csere időszerű lehet.
Gyári vagy utángyártott termék?
Ez egy kiváló minőségű utángyártott cserealkatrész, amely költséghatékony megoldást kínál megbízható teljesítménnyel.
Hol használható leginkább?
Fuvarozásban, pótkocsi-felépítményeknél, szervizekben és flották rendszeres karbantartásánál is praktikus választás.
Rendelje meg most a Légrugó 2626V SAF modellt, és válasszon megbízható, hosszú élettartamú megoldást a mindennapi munkához!
Ha további kérdése van a szállítással, garanciával vagy a rendelés menetével kapcsolatban, látogasson el Gyakori Kérdések (GYIK) oldalunkra, ahol részletes válaszokat talál.